留言板

尊敬的读者、作者、审稿人, 关于本刊的投稿、审稿、编辑和出版的任何问题, 您可以本页添加留言。我们将尽快给您答复。谢谢您的支持!

姓名
邮箱
手机号码
标题
留言内容
验证码

NGSO星座Q/V波段星间链路干扰规避技术

张钊 姚秀娟 高翔 智佳 王静

张钊, 姚秀娟, 高翔, 智佳, 王静. NGSO星座Q/V波段星间链路干扰规避技术[J]. 空间科学学报, 2023, 43(2): 352-360. doi: 10.11728/cjss2023.02.220302023
引用本文: 张钊, 姚秀娟, 高翔, 智佳, 王静. NGSO星座Q/V波段星间链路干扰规避技术[J]. 空间科学学报, 2023, 43(2): 352-360. doi: 10.11728/cjss2023.02.220302023
ZHANG Zhao, YAO Xiujuan, GAO Xiang, ZHI Jia, WANG Jing. Interference Analysis on Q/V Band ISL between NGSO Constellation Systems (in Chinese). Chinese Journal of Space Science, 2023, 43(2): 352-360 doi: 10.11728/cjss2023.02.220302023
Citation: ZHANG Zhao, YAO Xiujuan, GAO Xiang, ZHI Jia, WANG Jing. Interference Analysis on Q/V Band ISL between NGSO Constellation Systems (in Chinese). Chinese Journal of Space Science, 2023, 43(2): 352-360 doi: 10.11728/cjss2023.02.220302023

NGSO星座Q/V波段星间链路干扰规避技术

doi: 10.11728/cjss2023.02.220302023 cstr: 32142.14.cjss2023.02.220302023
基金项目: 中国科学院空间科学战略性先导科技专项资助(XDA15060100)
详细信息
    作者简介:
  • 中图分类号: TN972

Interference Analysis on Q/V Band ISL between NGSO Constellation Systems

  • 摘要: 随着大规模星座系统的发展,近地轨道空间频轨资源越来越紧缺。随之而来的星载通信链路干扰风险不容忽视,已成为今后星座系统设计需要重点考量的指标之一。在规避干扰的前提下,保证星座系统的工作性能至关重要。针对大规模非静止轨道(NGSO)星座系统星间链路存在的干扰风险问题,提出了基于干扰、受扰链路夹角的干扰规避方法。以Starlink的Q/V波段星间链路为例,定义了系统效率与工作效率,研究不同干扰规避方法与建链策略下系统的鲁棒性。仿真结果表明,基于受扰链路夹角的干扰规避方法能够在不同建链策略下将系统干扰噪声比I /N超限时长分别从5.79%和16.75%降至0,并且不影响工作链路。这种仿真方法对于类似具有星间链路的大规模NGSO星座系统的干扰规避具有借鉴意义。

     

  • 图  1  同轨道面星间链路

    Figure  1.  Inter-satellite link within an orbit

    图  2  同轨道面天线不可见

    Figure  2.  Antenna invisible within an orbit

    图  3  异轨道面星间链路

    Figure  3.  Inter-satellite link between different orbit

    图  4  星座与链路建模

    Figure  4.  Constellation and link modeling

    图  5  Starlink 天线增益随离轴角的变化

    Figure  5.  Starlink antenna gains varies with off-axis angle

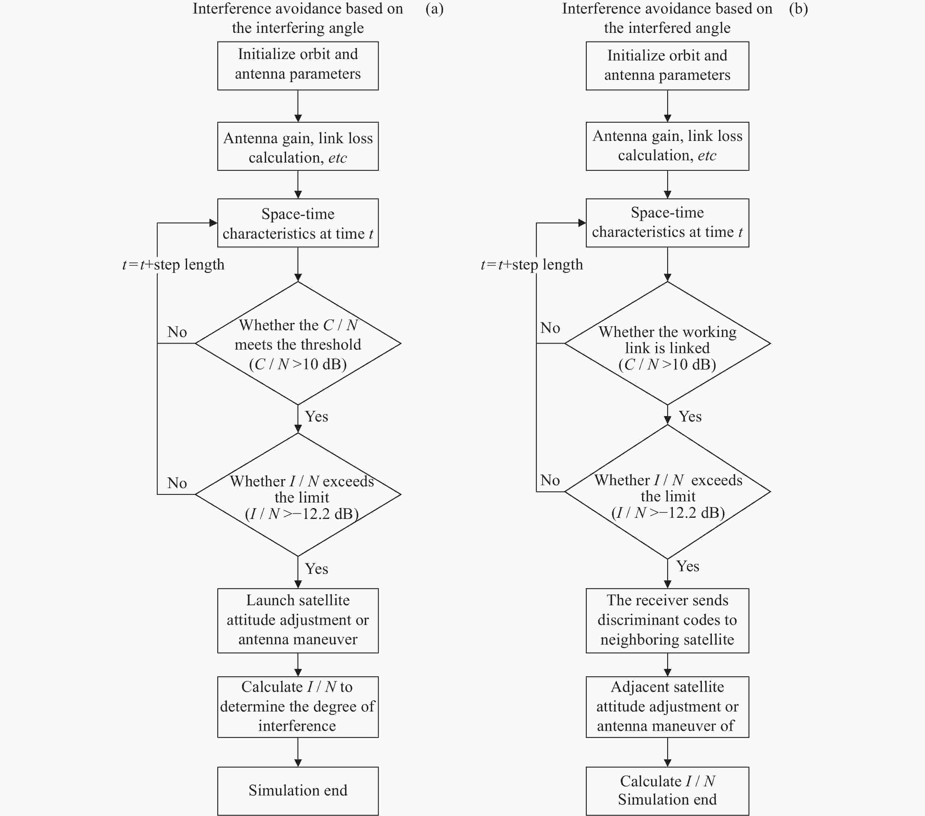
    图  6  干扰规避流程

    Figure  6.  Interference avoidance flow chart

    图  7  两种方法星座鲁棒性对比

    Figure  7.  Constellation robustness under two methods

    图  8  同轨道面天线可视角

    Figure  8.  Antenna angle between same orbit

    图  9  异轨道面天线可视角随半长轴的变化(粉色虚线为地球半径)

    Figure  9.  Antenna angle between different orbit varies with the semi-major axis (The pink dotted line is the radius of the Earth)

    图  10  θ1时序图(粉色虚线为θ1=3°)

    Figure  10.  Timing diagram of θ1 (The pink dotted line corresponds to θ1=3°)

    图  11  不同场景下I/N概率密度分布

    Figure  11.  CDF of I/N in different scenarios

    表  1  Starlink轨道输入参量

    Table  1.   Starlink orbit input parameters

    参量数值
    轨道面 2A 5A 5B 5C
    近地点/km 13892.3 1056 27354.9 31571.5
    远地点/km 13892.3 1056 44221.4 40004.7
    半长轴/km 13892.3 1056 35788 35788
    倾角/(°) 25 54 63.4 63.4
    离心率 0 0 0 0
    轨道面数量 3 11 5 5
    卫星数/轨 1 12 2 1
    下载: 导出CSV

    表  2  天线空口参数

    Table  2.   Antenna radio parameters

    参量数值
    天线类型 发射端 接收端
    波束名 LIMT LIMR
    频率/GHz 50 50
    带宽/MHz 900 900
    主瓣增益/dBi 48 45.4
    效率/(%) 60 60
    峰值功率/dBw 18.5 17
    噪温/K 627
    下载: 导出CSV

    表  3  θ1累计概率

    Table  3.   Cumulative probability of θ1

    X/(°)概率/(%)
    11.38
    25.05
    314.09
    443.24
    575.01
    691.41
    797.23
    8100
    下载: 导出CSV
  • [1] 刘向南, 赵卓, 李晓亮, 等. 星间链路技术研究现状及关键技术分析[J]. 遥测遥控, 2019, 40(4): 1-9 doi: 10.3969/j.issn.2095-1000.2019.04.001

    LIU Xiangnan, ZHAO Zhuo, LI Xiaoliang, et al. Research status and key technologies analysis of inter-satellite link[J]. Journal of Telemetry, Tracking and Command, 2019, 40(4): 1-9 doi: 10.3969/j.issn.2095-1000.2019.04.001
    [2] JIA M, LI Z, GU X M, et al. Joint multi-beam power control for LEO and GEO spectrum-sharing networks[C]//2021 IEEE/CIC International Conference on Communications in China (ICCC). Xiamen: IEEE, 2021: 841-846
    [3] SUI Y, DONG X C, YIN P, et al. Modeling and analysis of radio frequency interference impacts from geosynchronous SAR on low earth orbit SAR[C]//2021 IEEE International Geoscience and Remote Sensing Symposium IGARSS. Brussels: IEEE, 2021: 1666-1669
    [4] 李伟, 魏文康, 刘畅, 等. 基于空间位置概率的NGSO通信星座干扰仿真分析研究[J]. 电波科学学报, 2021, 36(3): 483-490 doi: 10.12265/j.cjors.2021007

    LI Wei, WEI Wenkang, LIU Chang, et al. Interference analysis simulation method based on spatial position probability for NGSO communication constellation system[J]. Chinese Journal of Radio Science, 2021, 36(3): 483-490 doi: 10.12265/j.cjors.2021007
    [5] GU P, LI R, HUA C Q, et al. Dynamic cooperative spectrum sharing in a multi-beam LEO-GEO co-existing satellite system[J]. IEEE Transactions on Wireless Communications, 2021, 21(2): 1170-1182
    [6] MENG S Y, JIA M, GUO Q, et al. Inter satellite link interference detection and analysis of NGSO satellite system[C]//Proceedings of the 12 th International Conference on Wireless and Satellite Systems. Springer, 2021: 1-11
    [7] ANZAGIRA A, EDMONSON W W, AMANOR D N. LED-based visible light intersatellite communication for distributed space systems[J]. IEEE Journal on Miniaturization for Air and Space Systems, 2021, 2(3): 140-147 doi: 10.1109/JMASS.2021.3059373
    [8] WANG Y K, MENG L Q, XU X S, et al. Research on semi-physical simulation testing of inter-satellite laser interference in the China Taiji space gravitational wave detection program[J]. Applied Sciences, 2021, 11(17): 7872 doi: 10.3390/app11177872
    [9] LEYVA-MAYORGA I, SORET B, POPOVSKI P. Inter-plane inter-satellite connectivity in dense LEO constellations[J]. IEEE Transactions on Wireless Communications, 2021, 20(6): 3430-3443 doi: 10.1109/TWC.2021.3050335
    [10] OSORO O B, OUGHTON E J. A techno-economic framework for satellite networks applied to low earth orbit constellations: assessing Starlink, OneWeb and Kuiper[J]. IEEE Access, 2021, 9: 141611-141625 doi: 10.1109/ACCESS.2021.3119634
    [11] 刘林. 航天器轨道理论[M]. 北京: 国防工业出版社, 2000: 7-8

    LIU Lin. Orbit Theory of Spacecraft[M]. Beijing: National Defense Industry Press, 2000: 7-8
    [12] BHATTACHERJEE D, SINGLA A. Network topology design at 27, 000 km/hour[C]//Proceedings of the 15 th International Conference on Emerging Networking Experiments and Technologies. Orlando: Association for Computing Machinery, 2019: 341-354
    [13] 李伟, 潘冀, 严康, 等. 基于协作的大规模NGSO星座间频率兼容共存研究[J]. 北京邮电大学学报, 2020, 43(6): 110-117 doi: 10.13190/j.jbupt.2020-189

    LI Wei, PAN Ji, YAN Kang, et al. Research on frequency compatibility of collaboration-based large-scale NGSO constellations[J]. Journal of Beijing University of Posts and Telecommunications, 2020, 43(6): 110-117 doi: 10.13190/j.jbupt.2020-189
    [14] ITU. ITU-R-REC-S. 1528 Satellite antenna radiation patterns for non-geostationary orbit satellite antennas operating in the fixed-satellite service below 30 GHz[S]. 2001. https:// www.itu.int/rec/R-REC-S.1528/_page.print
    [15] ITU-DB, Space network systems online[EB/OL]. (2017-06-22)[2022-02-15]. https://www.itu.int/sns/database.html
  • 加载中
图(11) / 表(3)
计量
  • 文章访问数:  1893
  • HTML全文浏览量:  952
  • PDF下载量:  101
  • 被引次数: 

    0(来源:Crossref)

    0(来源:其他)

出版历程
  • 收稿日期:  2022-03-01
  • 修回日期:  2022-10-26
  • 网络出版日期:  2023-02-14

目录

    /

    返回文章
    返回